玻璃板液位計是化工部新標準的液面計。經該進,液面計進出口兩端可以不再加裝其他閥門,即可不停爐拆下中間指示器進行清洗,可在液面計下部增設排污閥,以便能及時沖洗和排污。
玻璃板液位計在儀表的閥端有阻塞孔螺釘,可供取樣時用,或在檢修時,放出儀表中的剩余液體時用。儀表在上下閥內都裝有鋼球,當玻璃板因意外事故破壞時,鋼球在容器內壓力作用下阻塞通道,這樣容器便自動密封,可以防止容器內的液體繼續外流。根據連通器原理,將容器內介質液體引至外部玻璃板液位計內,通過透明玻璃直接顯示容器內液位實際高度。儀表閥桿密封填料采用柔性石墨壓環,密封性能可靠。
技術數據
針形閥的自動關閉壓力 ≥0.222MPa
夾套蒸氣壓力為 ≤0.612MPa
玻璃板的急變溫差為 ≤240℃
注:我廠承接特殊規格的定貨。
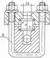
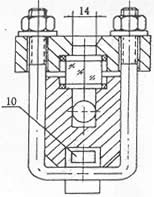
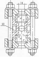
玻璃板液位計結構
儀表的上下閥上裝有法蘭接頭,與容器連接構聯通器,透過玻璃板直接指示容器布什的液位,“夾套型”設有加熱或冷卻裝置。該裝置加熱時可用蒸氣,冷卻時可用循環水,這樣可以調節流動性能,夾套型接管尺寸ZG1/4內螺紋。
在上下閥內裝有鋼球,當玻璃板因意外事故破壞時,鋼球在容器壓力作用下,自動密封,防止容器內的液體繼續外流。
在儀表的上端針形閥裝有阻塞螺釘,可供放氣之用,下端針形閥也裝有阻塞螺釘??晒┓趴铡⑷?、排污、清洗。
玻璃板液位計類型
名稱 | 型號 | 公稱壓力MPa | 介質溫度℃ | 結構特征 | (規格按上、下閥中心線間距離 | 標準號 | ||||||
結構形式 | 材料 | L=304 | L=500 | L=800 | L=1100 | L=1400 | L=1700 | |||||
透光式玻璃板液位計 | T2.5 | 2.5 | -20~+250 | 普通型 | I(碳鋼) II(1Cr18Ni9Ti) | △ | △ | △ | △ | △ | HG5-1364-80 | |
夾套型 | I(碳鋼) II(1Cr18Ni9Ti) | △ | △ | △ | △ | △ | ||||||
T6.3 | 6.3 | -20~+250 | 普通型 | I(碳鋼) II(1Cr18Ni9Ti) | △ | △ | △ | △ | △ | HG5-1365-80 | ||
夾套型 | I(碳鋼) II(1Cr18Ni9Ti) | △ | △ | △ | △ | △ | ||||||
反射式玻璃板液位計 | R4.0 | 4.0 | -20~+250 | 普通型 | I(碳鋼) II(1Cr18Ni9Ti) | △ | △ | △ | △ | △ | HG5-1366-80 | |
夾套型 | I(碳鋼) II(1Cr18Ni9Ti) | △ | △ | △ | △ | △ | ||||||
R0.6 | 0.6 | -20~+250 | 帶頸襯里 | III(碳鋼襯里) | △ | HG5-1367-80 | ||||||
帶頸 | I(碳鋼) II(1Cr18Ni9Ti) | △ △ | HG5-1368-80 | |||||||||
R | 常壓 | -20~+250 | 襯里 | III(碳鋼襯里) | △ △ | HG1369-80 | ||||||
嵌入聯接 | I(碳鋼) II(1Cr18Ni9Ti) | △ △ | HG5-1370-80 | |||||||||
玻璃板液位計外型尺寸圖
|
玻璃板液位計規定標記
名稱 | 型號 | 規格 | 標準號 | 備注 |
液面計 | A(B)T25-I, | L=500、800、1100、1400、1700、2000 | HG5-1364-80 | ①突面法蘭(A)按HG20592-97 |
液面計 | BT64-I, | L=500、800、1100、1400、1700 | HG5-1365-80 | ① 凸面法蘭(B)按HG20592-97 DN20,PN6.3MPa ② 工作壓力:6.3MPa |
液面計 | BT40-I, | L=500、800、1100、1400、1700、2000 | HG5-1366-80 | ③ 凸面法蘭(B)按HG20592-97 DN20,PN4.0MPa ④ 工作壓力:4.0MPa |
液面計 | R6-III | 304 | HG5-1367-80 | 工作壓力:0.6MPa |
液面計 | R6-I | 304 | HG5-1368-80 | |
液面計 | R-III | 304 | HG5-1369-80 | |
液面計 | R-I | 304 | HG5-1370-80 |
安裝、使用與維護:
1、為了保證自動密超過計劃作用,容器內的介質壓力不得小于0.2MPa,在打開上下閥時,閥桿退出轉數不少于4轉(使鋼球封門時,不致于碰到閥桿的**)。
2、使用中的儀表應定期檢查。清洗玻璃板內外壁污垢,使液位顯示清晰。
3、檢修裝配玻璃板在旋緊螺栓時,要密切注意玻璃板受力不均而破碎。因此,螺栓須嚴格按圖示1、2、3┈┈┈10、11、12順序交叉地分多次夾緊玻璃板。








